≪CADAP≫ 被害予測システム
中央建鉄(株) アセス部 地質調査部
Top Page困ったときは.....トピックス事業損失の基礎知識開発システム CADAP,CADAP-Jr,Referee技術情報事業損失Q&Aユーザーサイトご質問・お問い合わせはこちらから
[基礎知識TOP] [豆知識] [沈下被害編] [振動被害編] [経年変化]

 

(特集)不同沈下測定方法
 

 不同沈下が生じると大きな問題になります。不具合事象としては、壁の亀裂や建具の建付不良、基礎の亀裂などが代表的な損傷でが、一方で、これらの損傷は不同沈下以外でも起こる事もあるので、不具合事象だけでなく、不同沈下の状況を客観的に把握(測定)する事が重要です。

 不同沈下の測定は、難しくはないのですが、何故か測定方法についての情報が少なく、適切に行われていないケースが散見されます。 ここでは、戸建住宅の不同沈下を想定した測定方法について紹介します。

 
 

(1)いろいろな測定方法

 
(2)水盛管による測定
(3)柱の傾斜測定
(4)測定結果の評価

   (1)いろいろな測定器具

 不同沈下測定には垂直(鉛直)方向と水平方向の測定があります。垂直(鉛直)方向の測定は主に柱の傾斜を、水平方向の測定は床面の沈下状況の測定を行います。柱傾斜は専用の測定器具や下げ振りを用いて測定します。

床面等の沈下状況の測定は以下のような器具を使った各種の測定があります。

 

測定機器 測定方法の概要 機器価格
1 機械レベル 機器が自動で望遠鏡内の視準線を水平にし、測点に立てたスケールを直接読み取ります 数十万円
2 レーザーレベル 機械的に水平なレーザー線が照射され、測定箇所にスケールを当て床面からの距離を測定する 5万円程度〜
3 水盛管 ホースを付けたバケツ(水盛缶)に水を入れ、ホース先端を移動させてもバケツ内とホース先端の水面は水平となる原理を用いて、ホース水面と床面との距離を測定する 3〜5千円程度
4 水管 一本のビニール管に水を充填し、両端の水面が水平になる原理により2点間の高低差を測定する 数百円
5 気泡水準器 60p程度の定規に気泡水準器が取り付けられ、機器が水平な状態で端部の床面との隙間を測り傾斜を測定する 1〜3千円程度

 

(5)の気泡水準器(写真-1)は器具の精度が高く手軽ですが、測定範囲が狭く床面の不陸の影響を受けやすいため、他の測定の補足程度にします。その他の(1)〜(4)は、器具は異なっても基本的に、器具による水平線から測定ポイントまでの距離(高さ)を測定して、床面の不同沈下の状況を測定する原理は同様です。(1)〜(4)は測定の手軽さと器具の価格の順と考えて良いでしょう。

 

 機械レベルは専門技術者(測量業務者)が使うもので、機材は数十万円と高価ですから一般の方が扱うのは難しいでしょう。最近のレザーレベル(写真-2)は精度が向上し、安価になってきましたので、一般の方なら1万円程度のものでも十分に測定が可能です(機種によって精度が異なります)。最近はこの業界でも、レーザーレベルが標準になってきましたが、測定機自体の誤差や取り扱いにはそれなりに注意が必要です。

 水盛管(写真-3)は3〜5千円程度です。原始的ですが最も手軽で確かな測定器具です。水管(図-1)は10o程度の透明なビニール管があれば良いので、費用は幾らも掛かりませんが、他に比べて測定の手間が掛かります。

 

 何れの測定器具でも、戸建住宅の不同沈下測定であれば、ちゃんと測定すれば十分な結果は得られますので、状況に応じて器具を選定してください。

写真-1 気泡水準器 写真-2 レーザーレベル 写真-3 水盛管

図-1 水管による測定(不同沈下測定の基本)


   (2)水盛管による沈下測定

 原理と測定方法は何れも同様なので、ここでは主に水盛管による測定方法を中心に解説します。

 沈下測定の原理は、図-1のように仮想水平線から各測点までの距離を測定して床面の沈下状況を測定します。

戸建住宅の沈下測定は、”不同沈下”を測定するのであって”絶対沈下量(総沈下量)”を測定するものではありません。これは直接基礎の建物においては基本的な考え方です。

 

 ”不同沈下”は、建物内の最も高い点を基準(±0)に、各点の高さの差(高低差)を出すものです。(最も高い点を基準にすれば全てマイナスになります)但し、体育館のように間仕切りもなく、床に段差がなければ簡単ですが、既存住宅では見通しが利かず、各部屋の床には段差があるので、ここが測定のポイントとなります。このため、見通しの利かない既存住宅では、水盛管が便利なのです。水盛缶に10mのホースを取り付ければ、通常の住宅であれば一連の測定で結果が得られます。

 

 レーザーレベルは、設置が簡単で家具越しに測定が出来るなどの長所がありますが、見通せる範囲しか一回の測定で測定が出来ません。レーザーレベルを使う場合は、必ず盛替えを行い全ての測定を連続させ、建物全体の沈下傾斜の状況が把握出来るようにする必要があります。

 

1)段差の処理と測定方法

 床に段差がある場合は、図-2のように段差分を補正し、フラットな床面を想定して高低差を算出する必要があります。段差Δは敷居などの厚みをスケールで直接測定するか、水盛管を用いて段差の前後の測定結果から「段差Δ」を測定します。水盛管や水管の場合、水位が適切な高さとなるように器具を設置し、適正な姿勢で測定する事が重要で、水位の測定は図-1右上○内に示すように、同一水面を統一して測定する必要があります。ホース内に気泡が残ると測定誤差が生じますので、設置に際しては良く点検する必要があります。

図-2 水盛管による不同沈下測定と段差補正

2)盛替えと測定点 

 盛替えが必要な場合は、図-3のように器具を移動させた事により上下した仮想水平線分を補正し、同一の仮想水平線より測定した値に補正します。ホースが届かず水盛缶を動かした場合や、水管、レーザーレベルでは必ず行う必要があります。

 

 測定箇所は、出来るだけ基礎に近い堅固な床面で、かつ、隅角部など測定位置が決まる点で測定します。段差を修正すれば敷居や框(かまち)などもかまいません。一方、畳やジュータンなどで測定してはいけません。また、再現できないよう箇所(床の中央など)は「点の記」を記録しておくことが必要です。測点数は、建物四隅とその中間点の9点が最低数で、建物の大きさによって3m程度の間隔となるように測点数を増やしバランス良く配置します。

図-3 測定方法

3)測定結果の整理 

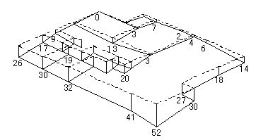
 このように測定した結果は表-1のように整理します。(補正値は段差をそのまま+-します。相対値は補正値が最も小さい点を基準点として各点は差し引きの値が全てマイナスとなります)表-1の結果を平面図に落としたり、図-4のようなフレーム図(俯瞰図)にすると分かり易いです。1階床の他に、2階床や外壁下端、逃げ墨を打って基礎天端など、複数の測定を合わせて行うようにします。

 

 レーザーレベルを用いる場合は、前述の盛替えを必ず行う事と、精度に十分注意してください。機器の精度によりますが、一般に水平精度1o/10m レザー幅1o程度なら、機器から測点までの距離は5m以下とします。レーザーレベルは狂い易いため、測定前には必ず精度チェックする事が必要です。

 

 水管は最も安価に測定出来ますが、測定出来るのは2点間の高低差ですので、測点を移る場合は必ず水管の両端の測定を繰り返し行う必要があります。水盛管の測定では、10点の測定を行うのに10回の測定ですが、水管の場合は20回の測定を行い、10回の盛替えによる補正を行う必要があります。

 

 表-1 水盛管測定結果例

測点 段差 測定値 盛替 補正値 相対値  
A +30 650   680 ±0 基準点
B +30 654   684 -4  
C 0 710 660 710 -30  
D 0   682 732 -52 補正値:682+(710-660)=732
E 0 712   712 -32  
F 0 706   706 -26  
G 0 694   694 -14  
H -15 704   789 -9  
I -15 715   700 -20  

図-4 測定結果の俯瞰図例 

 

   (3)柱の傾斜測定

 柱の傾斜測定は、写真-4のように、下げ振りや専用の器具を用いて測定します。また、レーザーレベルの鉛直測定機能を使って測定する事も可能です。何れも、下げ振り糸の鉛直線と柱の上端と下端の離れをそれそれ測定し、その差が傾斜量となります。測定結果は上下端の距離を記録し、その差を距離で除して1mあたりの傾斜に統一して記録します。

 

 柱の傾斜は建て込み時においても、2〜3/1000程度の傾斜のバラツキがあるので、出来るだけ多くの測定を行い全体的な傾向を見ることが重要です。柱が直接測定出来ない場合は、建具枠など鉛直に施工されている箇所を測定します。測定結果は平面図に書き落とすと同時に、図-5のように散布図にすると傾斜傾向が把握し易くなります。

 

写真-4 柱傾斜測定
(下げ振りと専用の測定器(バーチカル)による計測)
図-5 柱傾斜の散布例
 

   (4)測定結果の評価

 図-6は図-4のうち、代表的な測線を抽出し、傾斜角や変形角の値を算出するために整理した例で、傾斜の様子や折れ曲がり(変形角)の様子がよく分かります。このグラフから、どこの測点区間が最も大きいかを見極めて、沈下量でなく、図-7のように、不同沈下量を距離で除して、1mあたりの傾斜角を求め、変形角などと共に整理します。このように不同沈下の測定では、「1m当たりの値=○/1000(rad)」に統一して扱います。

 

 また、測定結果は、内部と外部、水平と鉛直など複数の測定を照合すると共に、測定結果ばかりでなく、不具合事象とも合わせて総合的に評価する必要があります。図-8は水盛管測定と柱傾斜測定の結果を、立面図に整理したものです。床と柱の傾斜角の目安は表-2と表-3に示す通りです。傾斜角や変形角と障害程度の関係の詳細については以下をご覧下さい。

→技術情報かわら版「第37回 小規模建築物基礎設計指針 第10章 基礎の障害と修復(part-2)

 

図-6 沈下傾斜グラフ例
図-7 傾斜角と変形角の算出方法 図-8 立面図への整理例

表-2 床の傾斜の評価

表-3 柱傾斜の評価

レベル 床傾斜の程度

瑕疵の存する

可能性

1
3/1000未満の勾配の傾斜
低い
2

3/1000以上6/1000未満

の勾配の傾斜

一定程度

存する

3 6/1000以上の勾配の傾斜 高い
レベル 柱傾斜の程度

瑕疵の存する

可能性

1
3/1000未満の勾配の傾斜
低い
2

3/1000以上6/1000未満

の勾配の傾斜

一定程度

存する

3 6/1000以上の勾配の傾斜 高い


   あ と が き

 不同沈下の可能性がある場合、これらを参考に建物の現状を客観的に把握する事が重要です。損傷の状態だけを見て、不同沈下であると断定して、右往左往しているケースがよく見られます。最初にも書きましたが、基礎や壁の亀裂、建付不良などは不同沈下の障害としてよく見られますが、一方で、建物の損傷は不同沈下によるものばかりではありません。ここにご紹介した測定方法はホームセンターなどで用意できる道具で、一般の方にも測定できる方法です。これらの損傷が見られ不同沈下が疑われる場合は、まず測定をしてみる事が第一です。

 
 
 
※さらに詳しい診断方法について紹介している記事の掲載雑誌は下記をご覧ください。(要ユーザー登録(無料))

   建築雑誌 2007年7月号

       (特集 住宅の地盤と基礎の診断と補強・補修)

       ・基礎の調査法と診断法

 

All Rights Reserved, Copyright(c) Kiyoshi Ina (Chuo-kentetsu,Inc.technical research) copyright possession